收藏本站
设为首页
联系我们
您好,欢迎来到东莞市百恩机械设备有限公司官网!主营镜面火花机,三菱火花机,沙迪克火花机,三菱慢走丝,沙迪克慢走丝等高端模具设备.
网站首页
关于百恩
产品中心
荣誉资质
资讯中心
常见问题
人才招聘
联系我们
栏目导航
三菱慢走丝(MV系列)
三菱镜面火花机(EA系列)
三菱电机
AMADA光学磨床
长岛精工磨床
沙迪克(慢走丝)
沙迪克(火花机)
沙迪克(注塑机)
莱璟慢走丝
放电夹具系统
重型加工夹具系统
线切割夹具系统
善和田(穿孔机)
相关推荐
电极夹持作座
定位片
标准电极校正头
手动夹头夹紧环
槽型不锈钢夹头
当前位置:
主页
>
产品中心
>
放电夹具系统
>
放电夹具系统
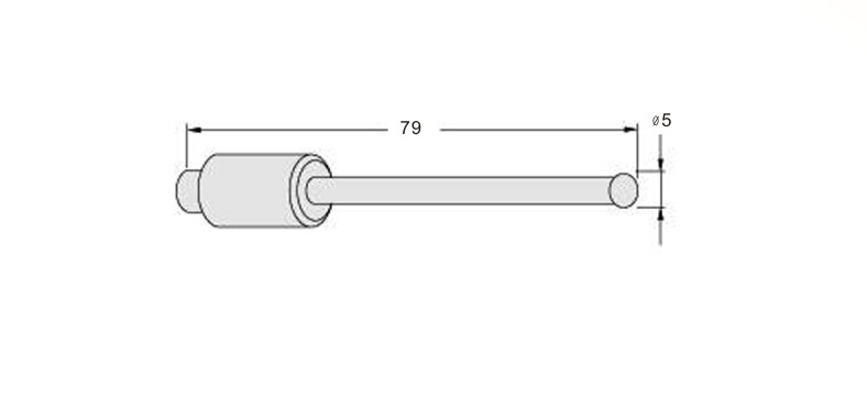
可更换分中器控杆
可更换分中器控杆
特点
---------------------------------------------------------------------------------------------
•
主要用于EDM分中器按杆之更换。
•
采用进口碳化钨材料制造,球头尺寸分为D5和D2两种规格。
下一篇:
EDM分中器(经济型)
上一篇:
EMD磁力分中球